傳統熱塑性塑料管材的擠出成型,熔體流動方向平行于管材軸線,管壁中塑料大分子鏈沿平行于管材軸線取向,管壁的強度是軸向大于周向,而承壓管材的受力則是周向為軸向的二倍,因此軸向和周向強度與軸向和周向應力相悖。熱塑性塑料管材擠出涂覆成型將熔體流動方向旋轉為與管材軸線接近垂直,塑料大分子鏈以沿管材周向取向為主,使塑料管材周向強度大于軸向,使軸向、周向的強度和受力保持一致。
1、前言
熱塑性塑料管材發明至今,已有七十余年的歷史,塑料管材的品種、用量、應用技術和制造技術等都取得驚人進步。
然而,傳統熱塑性塑料管材的擠出成型,塑料熔體的流動方向平行于管材軸線,七十余年來基本無變化。此舉帶來的弊端是:管壁中塑料大分子鏈是沿平行于管材軸線取向的,管壁的強度是平行于管材軸線方向大于垂直于管材軸線方向。這與承壓管材承受內壓時管壁受力恰恰相反。根據承壓管材的受力分析,當管材在承受內壓時,管壁中沿圓周產生的應力約為管壁中平行于管軸線所產生應力的兩倍以上。
本來塑料的強度就比金屬低很多,塑料強度高的方向并未用于塑料管材強度需要高的環向管壁上,而是落在了相對而言強度要求不高的軸向上,這一現象的存在,無疑是一種很大的浪費。不同的塑料,這種各向異性差別的大小也不盡相同,如最容易取向的TLCP,當采用注射成型時,平行于熔體流動方向的強度高達垂直于熔體流動方向的三倍左右,也就是說,強度可達150MPa的TLCP,當采用傳統擠出成型法制造管材時,其可利用強度不足50MPa。
中國專利CN101332667A公開了一種長玻纖增強塑料管材擠出機頭,具體涉及一種安裝在塑料擠出機上且具有長玻璃纖維在線螺旋復配特點的塑料圓形管材擠出機頭。該裝置具有玻璃纖維的輸入及纖維與熔體的混合分布裝置和芯棒轉動裝置,該機頭的混合分布裝置成功將一定長度經偶聯劑處理的玻璃纖維輸入到已塑料化的塑料熔體中,并使玻璃纖維均勻地混合到其中,成為纖塑混合熔體。該機頭的芯棒轉動裝置實現了熔體在芯棒和口模間由沿芯棒軸線流動到繞芯棒螺旋方向流動的轉變,直至固化。上述裝置擠出的塑料管材中,聚合物分子和長玻璃纖維沿軸線的螺旋方向取向,大大提高了管材的周向強度。
但是,上述塑料管材中長玻璃纖維周向排布是通過芯棒在口模中的旋轉實現的,需要外加驅動動力并設置相應的傳動裝置(如芯棒轉速調節鏈輪、芯棒旋轉傳動鏈輪支架、芯棒旋轉傳動鏈條、可旋轉芯棒與傳動從動鏈輪),不僅消耗能量且機頭結構復雜;另外,上述裝置中一個無法克服的弊端是,熔體隨芯棒旋轉并被逐漸推出口模冷卻定型的過程中,管胚中存在著旋轉應力,因此管材除了必須進行直線運動外,又增加了一種無謂的的旋轉運動,并且這旋轉應力將被凍結在管壁中,這是所有熱塑性塑料管材的擠出成型所不允許的;另外,多數塑料的擠出加工熔體溫度約為200℃左右,有的甚至高達400℃左右,塑料在擠出過程中的熔體壓力高達數兆帕至數十兆帕,填加了玻纖的聚合物熔體壓力必然更高,致使芯棒與軸承座之間的密封十分困難,容易造成熔體泄漏,影響設備的正常運轉,并增加操作者勞動強度,有時甚至會導致設備損壞等情況的發生。
2、熱塑性塑料管材的擠出涂覆成型
主要熱塑性塑料管材的成型,傳統方法為擠出成型。如上所述,在擠出成型過程中,熔體流動方向與管材軸線平行,大分子鏈也平行于管材軸線取向,管壁的強度是平行于管材軸向大于垂直于管材軸向。為提高塑料管材性能,賦予其新的功能,常對塑料管材外表面進行修飾加工,以提高塑料管材的強度、韌性、彈性模量,或阻氧性、防靜電及導電性、阻燃性等。傳統的擠出涂覆方法,熔體流動方向也是平行于管材軸線的,如圖1所示。
圖1 傳統擠出成型中熱塑性塑料管材管壁中大分子
為改變這一落后技術,曼瑞德自控系統公司申請了PCT專利,并獲美國授權,如圖2所示。采用這項專利技術,使塑料管材在擠出成型過程中,熔體流動方向由平行于管材軸線轉變為垂直于管材軸線方向,塑料大分子鏈取向也由平行于管材軸線轉變為與管材軸線垂直,并與管材園周相切,管壁強度垂直于管材軸線方向大于平行于管材軸線,纖維增強的熱塑性塑料管材亦將實現真正意義上的垂直于管材軸線方向上的增強。這個專利提供了一種改變熔體流動方向的關鍵技術,即含有導流板的擠出涂覆機頭及含有涂覆機頭的塑料管材涂覆成型裝置。塑料管材擠出涂覆成型機頭如圖3所示。
圖2 PCT專利,塑料大分子鏈取向
由圖3的導流板兩側產生的兩股熔體流,依順、逆時針方向流動,涂覆在芯管形成的管胚外壁,熱塑性塑料的大分子鏈準沿著管胚周向取向。在牽引機施于管材的軸向線速度的作用下,兩股熔體流將形成交叉排列,交叉角度由牽引速度與熔體流速決定,如圖4所示,涂覆成型裝置如圖5所示。
圖3 塑料管材擠出涂覆成型機頭(左為塑料管材擠出涂覆機頭,右為導流板)
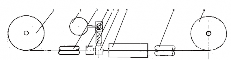
熱塑性塑料管材擠出涂覆成型是這樣實現的:圖5中的擠出涂覆機頭6中設有兩只導流板,由兩臺擠出機供料。一只導流板接受來自擠出機10熔融塑化的聚合物熔體并擠出成型芯管,另一只導流板接受來自擠出機5熔融塑化的聚合物熔體并擠出涂覆在芯管之外,經冷卻定型可得成品管。
圖4 熱塑性塑料管擠出
熱塑性塑料管材的生產過程是靠牽引機的牽引力將管胚引出口模進入定徑冷卻裝置的,在牽引力的作用下,導流板形成的兩股相向而行的熔體流將繞芯棒呈螺旋軌跡被拉伸形成了網狀,可稱為交叉復合。螺旋角的大小由擠出速度與牽引速度之比確定,其中環向強度等于軸向強度的2倍的螺旋角(交叉復合角)為理想的角度。圖6中成品管實際為四層結構,四層中的大分子鏈沿管材園周取向,如圖6所示。
圖5 熱塑性塑料管擠出涂覆成型裝置
(2、原料預處理裝置;5、涂覆層供料擠出機;6 、擠出涂覆機頭;7、定徑冷卻裝置;8、牽引裝置;9、成品管卷取裝置;10、芯管擠出成型機)
3、熱塑性塑料管材擠出涂覆成型的應用
TLCP具有高強度、高模量、高耐熱、高抗沖、高耐磨、高阻燃、高阻隔、耐腐蝕、低蠕變、低熱導等特點,性能超群。但是其大分子鏈極易取向,制品各向異性嚴重,熔接縫強度與非熔接縫處強度相差懸殊,限制了該產品的廣泛應用。采用熱塑性塑料管材擠出涂覆成型技術擠出涂覆成型TLCP管材,或者TLCP/TP合金管材,TLCP的棒狀大分子將接近垂直于管材軸線取向,這種取向將主要體現在管材的周向強度上,并且熔接縫強度低的弊端將被交叉復合所補償。
圖6 擠出涂覆成型熱塑性塑料管材管壁中大分子鏈取向示意圖
3.1 TLCP輸汽管道
用于輸送較高溫度的蒸汽時,與金屬管材比較,可以節省大量防腐費用和保溫費用,使用壽命長;與傳統擠出成型法比較,管材承壓能力可提高一倍以上。
3.2 TLCP原油集輸管道
與金屬管材比較,可以節省大量防腐費用、大量伴熱保溫費用,使用壽命長;與傳統擠出成型法比較,管材承壓能力可提高一倍以上。
3.3 TLCP/TPU合金油井抽油襯管
可適應5000公尺以內油井采油,遠遠超過UHMWPE襯管的2500公尺和PEX襯管的3500公尺。
3.4 TLCP/PO合金阻氧塑料管
耐水性、耐熱性、阻隔性能、力學性能等優秀,二層結構,性能超過采用EVOH五層結構阻氧塑料管,廢料回收容易。圖7為成品塑料管擠出涂覆阻氧層裝備示意圖。
圖7 成品塑料管擠出涂覆阻氧層裝備示意圖
(1、成品塑料管;2、原料處理裝置;3、送管機;4、管材表面預熱等離子處理裝置;5、擠出機;6、擠出涂覆機頭;7、定型冷卻裝置;8、牽引機;9、涂覆了TLCP/PO合金層的阻氧塑料管)
圖7中,送管機3和引管機8線速度相等,將需表面改性或者增加新功能的半成品管如需涂覆阻氧層的PEXb管、PEXc管和同步交聯PEXa管等的半成品置于半成品管放卷機1上,經送管機3和引管機8拖動放卷,并進入管材表面處理裝置4中對管材表面處理,處理的方法為等離子體處理、電暈處理,或者火焰處理等,經表面處理過的半成品管進入涂覆機頭6中,與經過原料處理裝置2和涂覆層擠出機5熔融塑化的聚合物熔體匯合。在涂覆機頭6中,熔體以與半成品管軸線垂直,并沿與半成品管外壁相切順逆時針方向流動,被涂覆到半成品管的外表面后進入定型冷卻水箱7冷卻定型,最終得到外表面經擠出涂覆改性的管材阻氧層的阻氧管,并被收集到成品收卷機9上。
采用圖7中的裝置和TLCP/PE合金,可以制造二層結構阻氧PEX管、阻氧PERT管;采用圖7裝置和TLCP/PP(或PB-1)合金,可以制造二層結構阻氧PB-1管和阻氧PP管等。
3.5 多層結構管材
多層擠出涂覆成型時,很容易實現功能層的復合,如煤礦井下用聚乙烯管中的排水管,各層主要性能和功能要求如下:
內層芯管:主要要求阻燃性、耐磨性,為減少大量阻燃劑降低內層管的力學性能,可以以少量不燃的TLCP樹脂取代部分高密度聚乙烯樹脂,阻燃劑添加量減少,HDPE又被TLCP增強了,也提高了內層管的耐磨性。
中間層管:主要要求阻燃性、力學性能,可以以較多不燃的TLCP樹脂取代高密度聚乙烯樹脂,阻燃劑添加量減少較多,HDPE又被TLCP增強了。
外層管:主要要求阻燃性、防靜電,為減少大量阻燃劑降低外層管的力學性能,可以以少量不燃的TLCP樹脂取代部分高密度聚乙烯樹脂,阻燃劑添加量減少,HDPE又被TLCP增強了,即使是不能不添加的防靜電劑,對外層管的力學性能的影響也會大大降低。
為了消除添加量較多TLCP造成的原料成本提高,各層配方中添加晶須是十分有效且必要的,此外還可以使材料起到增強、增剛、增韌和提高燃燒溫度、降低發煙量等作用。各層均添加有TLCP和晶須,采用熱塑性塑料管材擠出涂覆成型裝置制造的多層復合煤礦井下用聚乙烯管材的周向強度得到提高,其壁厚減薄的余地較大,可進一步降低管材成本。
4、結語
熱塑性塑料管材擠出涂覆成型,改變了傳統擠出成型大分子鏈取向,克服了CN101332667A旋轉芯棒機頭存在的不足,裝置無運轉件,無需格外密封,不會增加設備運轉故障率;二股熔體流順逆時針相向而行,管胚不會旋轉,亦不存在旋轉內應力;增加了管材周向強度,提高了管材的承壓能力。該技術適用于絕大多數熱塑性塑料管材的制造。(文章來源于網絡)