您當前的位置:首頁 >> 技術 >> 配件 » 正文
汽車門內飾板模內熱切機構熱流道注塑模具設
  瀏覽次數:10502  發布時間:2021年03月24日 09:33:38
[導讀] 汽車大型塑件生產中,塑件的脫模設計是模具設計成敗的關鍵因素,澆口的自動切除是影響塑件生產效率的另一關鍵因素。在分析成型對象塑件結構形狀及成型方案的基礎上,提出了一種斜導柱增強復合斜頂機構及澆口模內自動熱切除機構設計。
 董嬪1,董瑞佳2,張曉妍1
(1.河南工業職業技術學院機械工程學院,河南 南陽473000;
2.唐山工業職業技術學院自動化工程系,河北 唐山063299)

摘要:汽車大型塑件生產中,塑件的脫模設計是模具設計成敗的關鍵因素,澆口的自動切除是影響塑件生產效率的另一關鍵因素。在分析成型對象塑件結構形狀及成型方案的基礎上,提出了一種斜導柱增強復合斜頂機構及澆口模內自動熱切除機構設計。所設計的模具為一模兩腔兩板式家族模具結構,模具采用2個斜導柱增強復合斜頂機構、2個斜導柱滑塊機構、14個滑動座圓桿斜頂機構、36根頂針和4個推管實施脫模;采用2個模內熱切機構來對冷澆口進行模內自動熱切除。生產實踐證明,該模具設計巧妙,結構新穎,成型的塑件獲得了良好的注塑效果,大幅提升了模具生產效率,極具設計參考價值。
關鍵詞:內飾板;斜頂機構;澆口熱切機構;模具設計;熱流道

汽車門板上的支撐性內飾件一般為大型塑件,且都是左右成組設計,即外形尺寸和形狀基本相同,但局部區域的結構設計特征不相同,因為左右門的功能安裝件要求不一樣。該類塑件的注塑成型模具生產一般采用家族模布局方式進行模具設計與制造,當流道較長的時候,一般采用單點或者多點熱流道嘴對注塑機的噴嘴進行延伸后,再通過冷流道及冷澆口進行澆注,以保證熔融料流在模腔內的充填流動充足性。冷澆口的切除一般采用人工剪除的方式,這是一個嚴重降低生產效率和增加制造成本的技術缺陷。本文擬針對某內飾板的注塑生產提供一種熱流道兩板式家族模模具結構設計案例,該模具內設置有一種特殊的斜頂機構及模內冷澆口自動熱切除機構,生產效率高,具有極大的設計實踐參考價值。

1左、右內飾板塑件結構
圖1a為某新款汽車左、右前門上的開門拉鉤的支撐內飾板的形狀圖。塑件材料采用PP(寧波大川DCPM1017),該塑料添加20%的玻璃纖維。塑件分為左、右兩件,在車門內壁上安裝,分別用于左右車門開門拉鉤座的安裝支撐。兩塑件的正面形狀基本相似,但內表面上分布特征稍有不同。左、右塑件內表面上所分布的脫模困難特征如圖1b所示。在左飾板內壁上,分布有H1~H8共8個倒扣特征,且倒扣的形式不盡相同,外壁上,前端位置有1個圓柱型側孔H0特征,H0特征向內壁延伸后,形成倒扣特征H1;Z1、Z2為內壁上的兩個螺絲柱。同樣,右飾板的內壁上分布有K1~K8共8個倒扣特征,其外壁的前端有一個K0孔,該孔向內延伸后形成倒扣特征K1。Z3、Z4為內壁上的兩個螺絲柱。左右兩塑件的澆注分別在G1、G2兩個位置開設扇形側澆口進行澆注。

1a-塑件正面擺放圖1b-塑件內壁特征分布

2脫模結構設計
2.1機構布置
左、右內飾板在模具中的布局如圖2所示,針對塑件內、外壁難脫模的結構特征分別設置脫模機構實施脫模。針對左飾板塑件,其外壁的側孔H0特征采用斜導柱滑塊側抽芯機構M1實施側抽芯脫模,H1~H8特征采用X1~X8共8個斜頂機構進行頂出式側抽芯脫模。針對右飾板,K0孔特征采用滑塊側抽芯機構M2實施側抽芯脫模,K1~K8特征采用Y1~Y8共8個斜頂機構來實施頂出式側抽芯脫模。兩個塑件的斜頂機構中,斜頂X4、斜頂Y4機構的結構相似,其結構設計如圖2b所示,采用一種斜導柱增強復合斜頂機構;斜頂X1~X3、斜頂X5~X8、斜頂Y1~Y3、斜頂Y5~Y8機構相似,都采用動座圓桿斜頂機構,只是斜頂桿的頂出方向不同。

2.2斜導柱增強復合斜頂機構

圖 2 脫模機構布置
斜導柱增強復合斜頂機構X4、Y4的作用是針對塑件內壁倒扣需要大角度、長距離側抽芯時設計的,如圖3所示,機構斜頂桿6的底端安裝于支撐塊11上,支撐塊11兩側通過轉動銷14安裝有兩個導向塊12、13,導向塊12、13可在斜頂座10所開設的滑動槽內沿Kh向滑動,同時,斜頂桿6和支撐塊11組合在一起后可繞轉動銷14按T1方向轉動。支撐塊11內開設有一個斜向導柱孔,該斜向導柱孔與斜導向柱8滑動配合。斜導向柱8上端通過導向耐磨板7固定在模具的動模板下端面上,下端通過固定座16和壓板17用4個無頭螺絲緊固固定在模具底板上。機構的工作原理為:當注塑機按Km反向打開時,注塑機頂出板推動斜頂座10按Km方向頂出,支撐塊11在斜導向柱8的驅動下,沿著Kh方向在斜頂座10的槽內滑動,導向塊12、13與支撐塊11之間可以相互轉動(T1方向),斜頂桿6被支撐塊11推動按S向頂出,從而實現其水平分向S1向的側抽芯脫模。

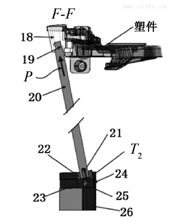
2.3滑動座圓桿斜頂機構
滑動座圓桿斜頂機構的結構如圖4所示。機構的底座安裝于模具頂出板上,其上通過23、24、25、22、21安裝第二斜頂桿20,左活動滑塊24、右活動塊25在斜頂座26的滑動槽為斜向槽,用于增大斜頂桿20的斜向頂出角度,同樣,第二斜頂桿20和導滑塊22通過螺釘21鎖緊組合在一起后,與滑塊23、24之間可以繞轉動銷23的中心做T2向的旋轉轉動。兩個斜頂機構中,斜頂頭1、斜頂頭18采用獨立滑塊頭形式,便于加工和安裝。
圖 4 滑動座圓桿斜頂機構

2.4斜導柱滑塊機構
滑塊機構M1、M2的結構及安裝形式相同,M1的結構組成如圖5所示,機構斜導柱27驅動滑塊體32按S4方向抽芯抽出,實現側孔型芯34與塑件的分離。
圖 5 滑塊機構

2. 5 模內澆口熱切除機構
為實現流道廢料與塑件的自動分離,模具中設置模內澆口熱切除機構M3、M4,兩個機構的結構形式相同,以M3機構為例,該機構在模具內的安裝如圖6a所示,其結構件組成如圖6b所示。機構主要功能件切刀機構安裝在模腔型芯鑲件上澆口位置處,機構控制則安裝在動模板38內。機構的工作原理為:模具閉合注塑完畢,待模腔內的塑件冷卻到一定程度,模具打開時,注塑機外部的高壓油經進油管口39、高壓油管40而進入油道板41內,經油道板41的管道分流控制后,進入微型油缸42內,微型油缸42驅動推桿43頂出,推動切刀座47及其上的切刀50克服刀座彈簧48的阻力將澆口51切開,實現流道52與塑件的分離。切除完畢,高壓油經出口油管44排出,切刀座47及推桿43被刀座彈簧48推回復位,等待下一次切除動作。

圖 6 模內熱切機構a

3模具結構及實際生產驗證
3.1模具3D結構設計
模具3D結構如圖7所示,模具采用兩板式熱流道結構,通過一個共用的熱流道嘴對兩個模腔進行熔融塑料輸送。模腔的成型件采用型腔鑲件78、型芯鑲件76組成,鑒于該兩成型件尺寸較大,難以控制其精度的需要,該兩鑲件安裝時采用錐度塊58靠單邊進行鎖緊安裝,以保證模具閉合時兩者的閉合位置精度。塑件采用頂出板上安裝斜頂機構、頂針、推管等機構頂出件進行頂出,因為頂出板上安裝有16個斜頂機構,36根頂針,4個推管,頂出元件較多,頂出板67、板68的頂出復位位置必須準確可靠,板67、板68的邊角上安裝有行程開關73,以準確控制此兩板的復位。
圖 7 模具 3D 結構設計

3.2模具加工實物驗證
模具零部件經加工完成裝配后,組裝后的定模如圖8a所示,動模如圖8b所示。成型件加工完成時,定模模腔內壁的表面粗糙度須拋光至Ra=0.4μm,動模型芯面的經數控銑削加工后表面粗糙度Ra=0.8μm。
圖 8 模具實物

3.3試模塑件實物驗證
模具經裝配、調試后裝于注塑機上進行試模,試模第三次時,左產品上角存在充填不足問題。經模流分析驗證后,此處充填壓力不足,改善方式有增強排氣及擴大澆口兩種辦法,模腔內注塑PP料時,排氣需要增強,故在型腔鑲件78上,模腔分型面上等距開設了6條散射狀排氣槽,其深度為0.02mm,寬度為6mm,對應的引氣槽深度0.5mm,并在上端大孔中心位置增設了排氣孔。經后續多次試模后,充填不足問題得到解決,塑料成型質量良好,如圖9所示。
圖 9 塑件實物

4 結論
1) 針對脫模困難的問題,分別設計了一種斜導柱增強復合斜頂機構,機構針對塑件內壁倒扣需要大角度、長距離側抽芯而設計,解決普通單斜頂桿大角度、長側抽芯距離頂出時強度和剛度不足,容易折彎、卡死的問題。2) 針對澆口自動化剪切問題,設計了一種模內澆口熱切除機構。機構通過從外部引入高壓,推動微型油缸驅動切刀完成澆口在模具上的自 
動切除,極大地提高了模具的生產效率,節省了塑件的單件生產成本。

生產實踐證明: 基于該模具結構的創新設計,為塑件的成型降低了潛在的技術風險,獲得了良好的注塑效果,能為同類塑件的注塑模設計提供良好的參考價值。

參考文獻
[1]劉紅燕,卞平.基于CAE分析的汽車剎車油盒家族模注塑模具設計[J]. 塑料,2019,48 ( 3) : 70-73.
[2]邵良臣,王悅,張鵬玉,等.基于Moldflow的汽車控制面板旋鈕開關注塑模具設計[J].塑料工業,2019,47 ( 5) : 67-71.
[3]孫肖霞,張?。?基于CAE的汽車拉手外殼注塑工藝參數優化[J].塑料工業,2019,47 ( 9) : 70-73.
[4]洪慎章.汽車車門把手臂注塑工藝及模具設計[J].橡塑技術與裝備,2019,45 ( 8) : 38-40.
[5]張維合,成永濤,許淑娟,等.汽車后背門護板熱流道大型注塑模設計[J].中國塑料,2019,33 ( 5) : 102-107.
[6]洪慎章.汽車散熱器注塑工藝及模具設計[J].橡塑技術與裝備,2019,45 ( 4) : 28-30.
[7]洪慎章.汽車儀表外殼注塑工藝及模具設計J].橡塑技術與裝備,2019,45 ( 12) : 14-16.
[8]洪慎章.汽車前燈罩注塑工藝及模具設計[J].橡塑技術與裝備,2019,45 ( 23) : 25-27.